產品展示
您現在的位置: 首頁--產品展示
產品描述
|
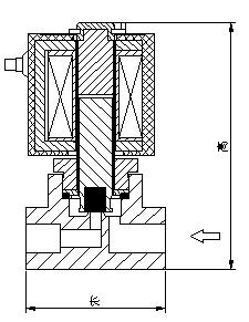
GYZ型高壓電磁閥直動式電磁閥可選參數范圍:
常閉:當線圈通電時,線圈吸引力拉動鐵芯,打開主閥口,介質通過.
常開:當線圈斷電時,鐵芯靠彈簧復位,閥口關閉,介質截止 GYZ型高壓電磁閥技術圖片 |
其他相關產品
|
|
|
|
GYZ型高壓電磁閥直動式電磁閥可選參數范圍:
常閉:當線圈通電時,線圈吸引力拉動鐵芯,打開主閥口,介質通過.
常開:當線圈斷電時,鐵芯靠彈簧復位,閥口關閉,介質截止 GYZ型高壓電磁閥技術圖片 |
|
|
|