G49J三通隔膜閥的詳細資料:
|
產品名稱:三通隔膜閥
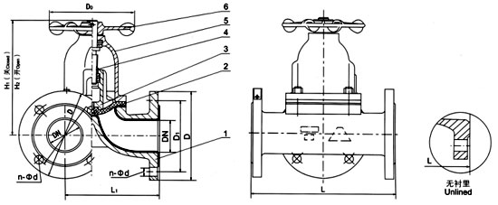
部件列表:1、閥體 2、隔膜 3、閥瓣 4、閥桿 5、閥蓋 6、手輪 二、三通隔膜閥用途: 三通隔膜閥用途:三通隔膜閥專用于控制非腐蝕性或一般腐蝕性介質,閥體內腔表面無襯里或覆有可供選擇的各種橡膠,適用于不同工作溫度和流體管路。 三、三通隔膜閥材料: 閥體:鑄鐵、球墨鑄鐵、碳鋼、不銹鋼 四、三通隔膜閥測試: 襯里層:電火花檢測 五、三通隔膜閥結構特點: 隔膜閥是一種特殊形式的截止閥; 六、G49J三通隔膜閥主要尺寸及重量:
|
|
|
G49J三通隔膜閥的詳細資料:
|
產品名稱:三通隔膜閥
部件列表:1、閥體 2、隔膜 3、閥瓣 4、閥桿 5、閥蓋 6、手輪 二、三通隔膜閥用途: 三通隔膜閥用途:三通隔膜閥專用于控制非腐蝕性或一般腐蝕性介質,閥體內腔表面無襯里或覆有可供選擇的各種橡膠,適用于不同工作溫度和流體管路。 三、三通隔膜閥材料: 閥體:鑄鐵、球墨鑄鐵、碳鋼、不銹鋼 四、三通隔膜閥測試: 襯里層:電火花檢測 五、三通隔膜閥結構特點: 隔膜閥是一種特殊形式的截止閥; 六、G49J三通隔膜閥主要尺寸及重量:
|
|
|