產品展示
您現在的位置: 首頁--產品展示
產品描述
卡箍平板閘閥的詳細資料:
|
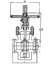
Z83Y卡箍平板閘閥具有密封性能可靠、啟閉力矩小、具有抗硫耐磨、使用壽命長、可通毛球清掃管線等特點;平板閘閥適用水、石油、天然氣、蒸汽等非腐蝕性和腐蝕性介質的管路系統中作啟閉裝置,平板閘閥特別適用于石化、油、氣、長輸管線等領域。
|
|
工作溫度:≤110℃ 閥體材料:優質碳鋼、合金鋼 適用介質:泥漿、水 |
外形及連接尺寸Main external and connecting dimensio
|
公稱通徑 DN(mm) |
尺寸(mm) |
重量 (Kg) | |||||||
|
DN |
L |
L1 |
Tr |
SR |
H |
H1 |
DO | ||
|
50 |
47 |
212 |
30 |
120×6 |
40 |
364 |
312 |
440 |
60 |
|
65 |
57 |
235 |
30 |
130×6 |
40 |
402 |
330 |
480 |
75 |
|
80 |
70 |
267 |
35 |
150×6 |
60 |
495 |
41 1 |
500 |
90 |
|
100 |
92 |
330 |
45 |
180×8 |
74 |
543 |
443 |
500 |
110 |
|
工作溫度:≤110℃ 閥體材料:優質碳鋼、合金鋼 適用介質:泥漿、水 |
外形及連接尺寸Main external and connecting dimensio
|
公稱通徑 DN(mm) |
尺寸(mm) |
重量 (Kg) | |||||||
|
DN |
L |
L1 |
Tr |
SR |
H |
H1 |
DO | ||
|
50 |
47 |
212 |
30 |
120×6 |
40 |
364 |
312 |
440 |
60 |
|
65 |
57 |
235 |
30 |
130×6 |
40 |
402 |
330 |
480 |
75 |
|
80 |
70 |
267 |
35 |
150×6 |
60 |
495 |
41 1 |
500 |
90 |
|
100 |
92 |
330 |
45 |
180×8 |
74 |
543 |
443 |
500 |
110 |
其他相關產品
|
|
|
| ||||||||







